A leading UK supplier of Cable Handling, Height Safety, Hoisting, Materials Handling, Mechanical Handling, Pulling, Securing & Winching Equipment - Established in 2014 with over 20,000 customers served

Need More?
Require more stock than shown as available, please send us your requirements via email sales@rigginguk.co.uk
Need Help?
If you're unable to locate the specific item you're searching for, please send us your requirements via email sales@rigginguk.co.uk
Description
Description
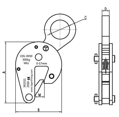
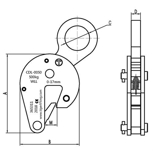
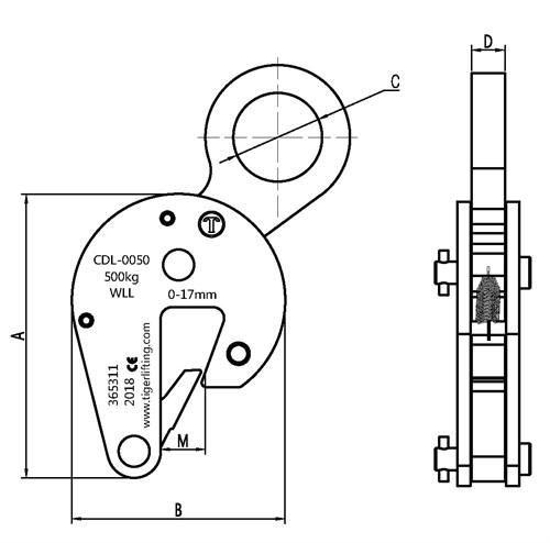
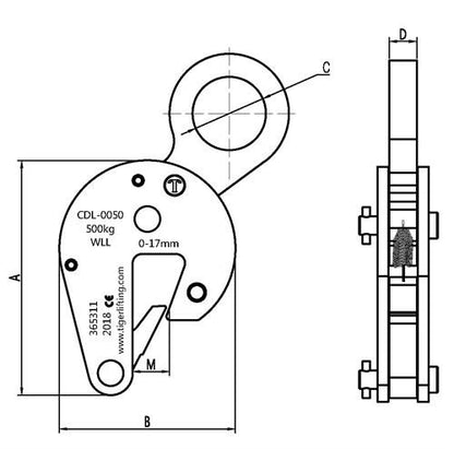
TIGER DRUM LIFTING CLAMP - CDL Ref: 240-6
The Tiger Drum Clamp can be used single clamp on sealed or empty drums.
The Tiger drum lifting clamp is designed for the safe handling of flanged drums with or without lids.
- Capacity: 0.5t.
- Jaw opening: 0-17mm.
- Weight: 1.6kg
|
Product Code |
Capacity (tonne) |
Dimensions (mm) |
Net Weight (kg) |
||||
|
Jaw Opening M (mm) |
A (mm) |
B (mm) |
C (mm) |
D (mm) |
|||
|
240-6-1 |
0.5t |
0-17 |
128 |
96 |
40 |
16 |
1.6 |
Certification
Each unit comes fully certified with a test certificate or an EC Declaration of Conformity stating compliance with the essential health and safety requirements of the Machinery Directive 2006/42/EC.
Product Questions & Answers
Product Questions & Answers
QUESTIONS & ANSWERS
Have a Question?
Be the first to ask a question about this.