A leading UK supplier of Cable Handling, Height Safety, Hoisting, Materials Handling, Mechanical Handling, Pulling, Securing & Winching Equipment - Established in 2014 with over 20,000 customers served

Need More?
Require more stock than shown as available, please send us your requirements via email sales@rigginguk.co.uk
Need Help?
If you're unable to locate the specific item you're searching for, please send us your requirements via email sales@rigginguk.co.uk
Description
Description
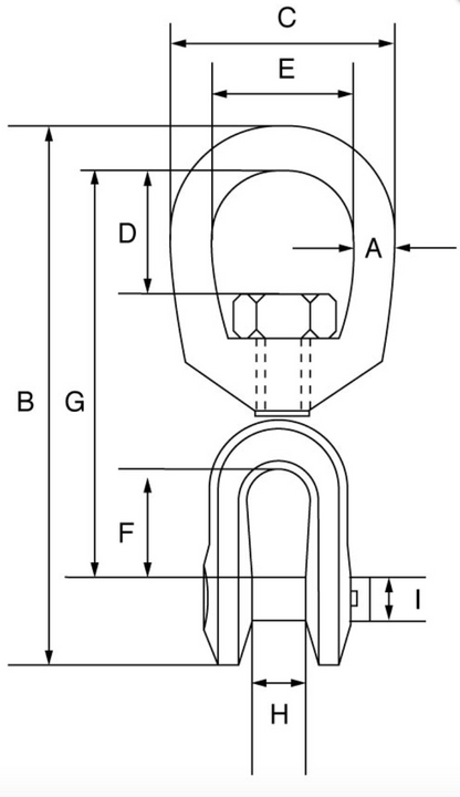
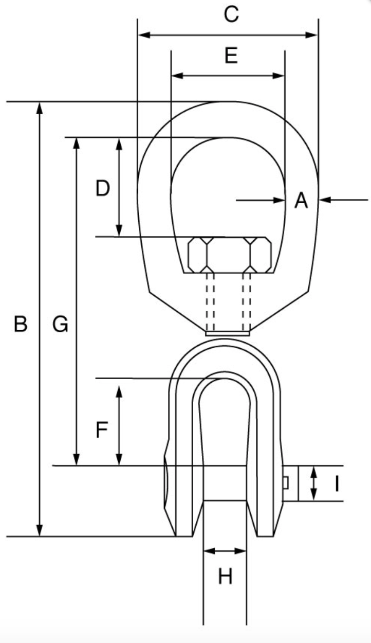
Green Pin Swivel Eye/Jaw
- High tensile steel, quenched and tempered.
- Hot dipped galvanised finish.
- Conforms to US Fed. Spec. RR-C-271 type VII class 2.
- Minimum breaking load is 5 times the W.L.L.
- Marked with CE, W.L.L, manufacturers ID, size and traceability code.
- Certification available
- G-7723
Spec
| SKU |
W.L.L. | A | B | C | D | E | F | G | H | I | Weight |
|---|---|---|---|---|---|---|---|---|---|---|---|
| t | mm | mm | mm | mm | mm | mm | mm | mm | mm | kgs | |
| 286-816-1 |
0.4 | 6 | 84 | 32 | 18 | 19 | 22 | 67 | 12 | 6 | 0.11 |
| 286-816-2 |
0.6 | 8 | 98 | 41 | 21 | 25 | 22 | 75 | 13 | 8 | 0.17 |
| 286-816-3 |
1.12 | 10 | 121 | 51 | 24 | 32 | 27 | 92 | 16 | 10 | 0.32 |
| 286-816-4 |
1.6 | 13 | 154 | 64 | 33 | 38 | 33 | 114 | 19 | 13 | 0.65 |
| 286-816-5 |
2.4 | 16 | 186 | 76 | 40 | 44 | 38 | 135 | 24 | 16 | 1.12 |
| 286-816-6 |
3.3 | 19 | 211 | 89 | 44 | 51 | 44 | 154 | 29 | 19 | 1.76 |
| 286-816-7 |
4.5 | 22 | 242 | 102 | 52 | 57 | 52 | 178 | 30 | 22 | 2.66 |
| 286-816-8 |
5.7 | 25 | 290 | 114 | 59 | 64 | 71 | 217 | 44 | 29 | 4.46 |
| 286-816-9 |
8.2 | 32 | 329 | 143 | 68 | 80 | 71 | 230 | 52 | 35 | 7.14 |
| 286-816-10 |
20.5 | 38 | 501 | 178 | 106 | 102 | 113 | 364 | 73 | 50 | 24.8 |
Downloads
Product Questions & Answers
Product Questions & Answers
QUESTIONS & ANSWERS
Have a Question?
Be the first to ask a question about this.

